双齿辊破碎机结构图_双齿辊破碎机图纸
双齿辊破碎机是由两台电机带动两个辊子进行工作的,和双辊破碎机的区别就是辊面上,一个辊面是齿面,一个是光面。齿辊破碎机是利用两组单独转动的辊轴,相对旋转产生的挤轧力和磨剪力来破碎物料的。双齿辊破碎机具有外形体积小、破碎比大、产量高、噪音低、结构简单、维修方面等优点,被粉碎物料粒度均匀,过粉碎率低,维修方便,过载保护灵敏,安全可靠等特点。齿辊式破碎机广泛适用于烧结矿、煤炭、水泥、硅酸盐、玻璃、陶瓷等行业。用户们在使用双齿辊破碎机比较关注其组成结构,今天小编就以双齿辊破碎机结构图来和大家共同了解下双齿辊破碎机结构。

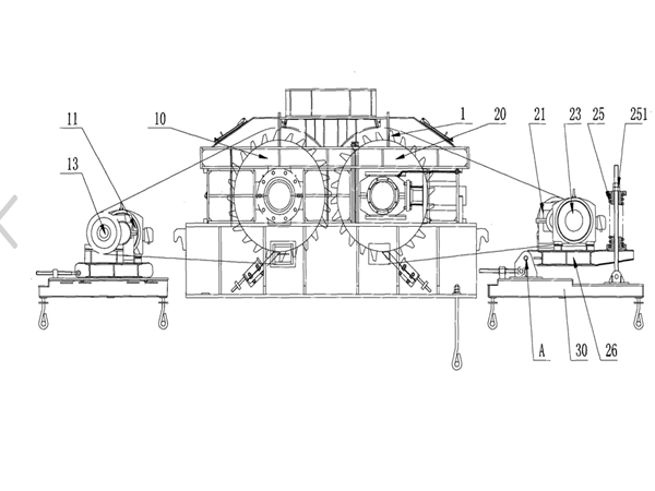
我们吉宏专业生产双齿辊破碎机具有三十年的生产经验,技术员一直坚持实践,积累了不少经验。吉宏双齿辊式破碎机主要由电动机通过三角胶带轮,驱动一对中间齿轮,带动主动齿轮转动,再以主动齿辊另端的一对齿轮带动从动齿轮,从而形成了两齿辊的相对运动而进行物料的破碎。
齿辊式破碎机,齿辊破碎机,双齿辊破碎机,齿牙式破碎机,焦炭破碎机,齿辊碎煤机移动架主要由座架,轴承座、弹簧和拉紧螺栓组成。双齿辊破碎机的总体装配型式有左、右式之分,从齿辊、移动架一端看,电动机及胶带轮位于左侧者,称左式,位于右侧者为右式。
双齿辊破碎机主要由一对齿辊、两对减速齿轮、两个胶带轮、齿辊移动架和机架等组成。胶带轮安装在传动轴的轴套上,轴套由钩头键固定在轴上,胶带轮通过保险销与轴套连在一起,并传递转矩。当超负荷运转时,保险销立即切断,胶带轮空转。传动轴由两轴承支持,其中间装有齿轮。主动齿轮的轴亦有两个滑动轴承支持,其一端装有齿轮与传动轴齿轮相啮合,另一端齿轮与从动齿辊轴上的齿轮相啮合。从动齿轮安装在移动架上面。当破碎机内进入大块物料时,从动齿轮可通过移动架上的压缩弹簧,使其后移,对辊破碎机扩大齿辊间隙而排出大块物料。

双齿辊破碎机图纸
通过双齿辊破碎机结构图让大家详细了解了双齿辊破碎机的组成结构,巩固的知识。凡是需要选购齿辊破碎机的用户们,一定要把齿辊破碎设备的结构组成部分掌握清楚。我们吉宏专业双齿辊破碎机生产厂家,多年来一直坚持“质量信誉一起抓”,成为用户们值得信赖的好厂家。






